СХЕМЫ ЭЛЕКТРОУСТАНОВОК ЗДАНИЙ С ПРИМЕНЕНИЕМ УЗО

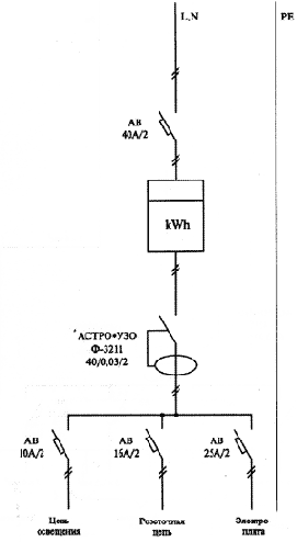
Рис П.3.1. Схема электроснабжения квартиры

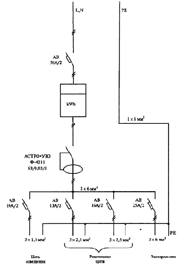
Рис П.3.2. Схема электроснабжения квартиры при отсутствии защитного проводника в PE в розеточной цепи и цепи освещения (временное решение для старого жилого фонда)

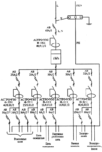
Рис П.3.3. Схема электроснабжения квартиры с электроплитой с рекомендуемыми сечениями медных проводников

Рис П.3.4. Схема электроснабжения квартиры с газовой плитой с рекомендуемыми сечениями медных проводников

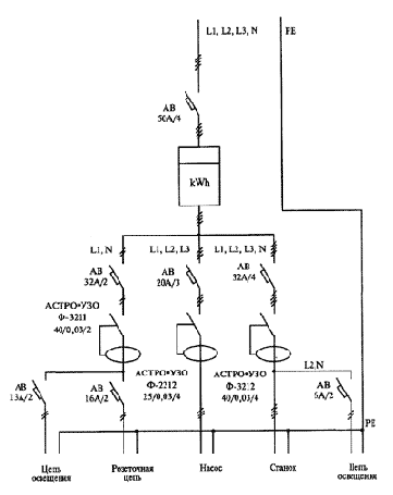
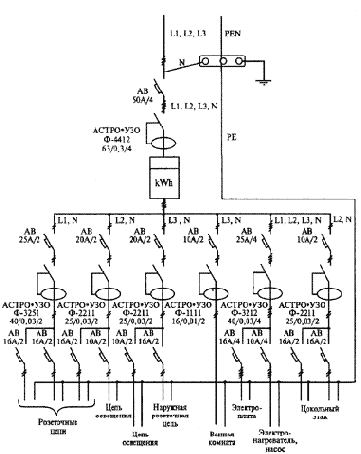
Рис П.3.5. Схема электроснабжения здания с трехфазным вводом

Рис П.3.6. Схема электроснабжения мастерской

Рис П.3.7. Схема электроснабжения мобильного здания с системой TT

Рис П.3.8. Схема электроснабжения коттеджа с системой TN-C-S (вариант 1)

Рис П.3.9. Схема электроснабжения коттеджа с системой TN-C-S (вариант 2)

Рис П.3.10. Схема электроснабжения коттеджа с системой TN-C-S (вариант 3 - с этажными распределительными щитами - РЩ1, РЩ2, РЩ3)

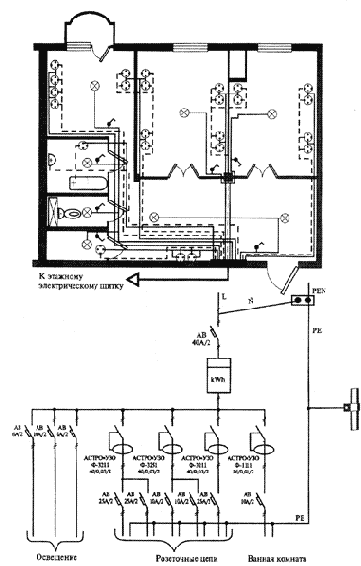
Рис П.3.11. Пример электроснабжения квартиры
<<< Назад || Дальше >>>